A型防水套管又叫穿墻套管,穿墻管。柔性防水套管一般適用于管道穿過墻壁之處受有振動或有嚴密防水要求的構筑物,套管部分加工完成后,在其外壁均刷底漆一遍(底漆包括樟丹或冷底子油)。防水套管分為剛性防水套管和柔性防水套管。兩者主要是使用的地方不一樣,柔性防水套管主要用在人防墻,水池等要求很高的地方,剛性防水套管一般用在地下室等管道需穿管道的位置。
產品名稱:剛性防水套管
產品別名:防水套管、02S404防水套管
接頭規格:【DN50mm-DN3200mm】
產品顏色:天藍色、紅色實物顏色見商品展示圖片.
適用范圍:【鋼管、PP管】
產品等級:A級,
工作溫度:-20度至80度(還可加工整體304、316、316L不銹鋼)
在線咨詢
購買熱線: 021-622-00727
一、柔性防水套管:外部焊接止水翼環,內部設有密封墊,法蘭內絲連接,根據管道安裝的實際情況設計訂制,用于墻體兩面都需要做防水,建議您使用柔性防水套管。比如潛水式水泵給排水系統管道墻體兩端都要給予防水處理,防止結構滲水!
二、剛性防水套管:套管外壁焊接防水翼環。根據設計院下發結構工程圖紙,提前將防水套管預埋于混凝土墻內,如果僅僅是考慮管道的穿墻,而不考慮穿墻后,墻體兩面的防水性能以及管道的位移變形,就可以選用剛性防水套管,多用于地下室,人防工程的墻體防水。
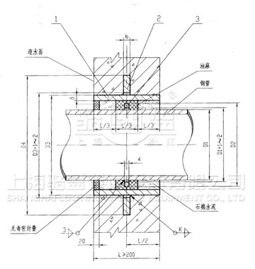
1當迎水面為腐蝕性介質時,可采用封堵材料將縫隙封堵.
2 套管穿墻處如遇非混凝土墻壁時,應局部改用混凝土墻壁,其澆注圍應比翼環直徑(D5)大200,而且必須將套管一次澆固于墻內。
3穿管處混凝土墻厚應不小于300,否則應使墻壁一邊或兩邊加厚,加厚部分的直徑至少為D5+200.
4套管的重量以L=300計算,如墻厚大于300時,應另行計算。
5柔性填料材料:瀝青麻絲,聚苯乙烯板,聚氯乙烯泡沫塑料板。
6 密封膏:聚硫密封膏,聚胺脂密封膏。
日前,記者從邯鄲市委辦公廳獲悉,魏縣投資30億元年產100萬噸高端緊固件項目開工。該項目由美途實業公司投資建設,主要生產螺栓、塑料尼龍漲栓、外墻保溫用錨栓及各類高、精、尖、異型緊固件的設計及制作,產品廣泛適用于建筑建造、機械制造、汽車航空等領域。項目建成后生產能力達100萬噸,年產值80億元人民幣,解決5000人就業。
此次上海駱盈作為該項目的主要防水套管供應商,產品質量經得起實踐的檢驗,剛性防水套管:套管外壁焊接防水翼環。根據設計院下發結構工程圖紙,提前將防水套管預埋于混凝土墻內,如果僅僅是考慮管道的穿墻,而不考慮穿墻后,墻體兩面的防水性能以及管道的位移變形,就可以選用剛性防水套管,多用于地下室,人防工程的墻體防水。魏縣緊固件項目采用了上海駱盈防水套管之后能夠有效地保護其管道線路的長久穩定運行。

請點擊圖片看大圖
| 序號No. | 名稱Name | 數量Quantity | 材料Material |
| 1 | 本體Body | 1 | QT400-15,Q235A,不銹鋼304,316 |
| 2 | 翼環Wing ring | 1 | QT400-15,Q235A,不銹鋼304,316 |
請點擊圖片看大圖
| DN | D1 | D2 | D3 | D4 | δ | b | k | 重量(kg) |
| 50 | 60 | 80 | 114 | 225 | 3.5 | 10 | 4 | 4.49 |
| 65 | 75.5 | 95 | 121 | 230 | 3.75 | 10 | 4 | 4.66 |
| 80 | 89 | 110 | 140 | 250 | 4 | 10 | 4 | 5.33 |
| 100 | 108 | 130 | 159 | 270 | 4.5 | 10 | 5 | 6.36 |
| 125 | 133 | 155 | 180 | 290 | 6 | 10 | 6 | 8.33 |
| 150 | 159 | 180 | 219 | 330 | 6 | 10 | 6 | 10.06 |
| 200 | 219 | 240 | 273 | 385 | 8 | 10 | 8 | 15.90 |
| 250 | 273 | 295 | 325 | 435 | 8 | 12 | 8 | 18.68 |
| 300 | 325 | 345 | 377 | 500 | 10 | 14 | 10 | 27.40 |
| 350 | 377 | 400 | 426 | 550 | 10 | 14 | 10 | 30.95 |
| 400 | 426 | 445 | 480 | 600 | 10 | 14 | 10 | 34.35 |
| 450 | 480 | 500 | 530 | 650 | 10 | 14 | 10 | 37.85 |
| 500 | 530 | 550 | 590 | 730 | 10 | 16 | 10 | 44.54 |
| 600 | 630 | 660 | 690 | 830 | 10 | 16 | 10 | 54.50 |
| 700 | 720 | 750 | 790 | 920 | 10 | 16 | 10 | 61.43 |
| 800 | 820 | 850 | 880 | 1020 | 10 | 16 | 10 | 69.12 |
| 900 | 920 | 950 | 980 | 1120 | 10 | 16 | 10 | 76.81 |
| 1000 | 1020 | 1050 | 1080 | 1230 | 10 | 16 | 10 | 84.50 |
| 1200 | 1220 | 1250 | 1290 | 1430 | 12 | 20 | 12 | 122.5 |
| 1400 | 1420 | 1450 | 1490 | 1630 | 12 | 20 | 12 | 144.3 |
| 1600 | 1620 | 1650 | 1690 | 1830 | 14 | 20 | 14 | 176.4 |
| 1800 | 1820 | 1850 | 1900 | 2040 | 16 | 20 | 16 | 216.6 |
| 2000 | 2020 | 2050 | 2100 | 2240 | 16 | 20 | 16 | 239.3 |
專業制造、專業服務,駱盈為你創造更多價值 !
不斷提升服務質量,精益求精,“真誠的服務”是駱盈永恒的主題。駱盈嚴格按照 要求,質量嚴格把關,責任到人,確保生產、銷售、服務的健康運行。加強與用戶溝通,竭誠為廣大客戶提供優質產品,至善至美服務,特此駱盈做出如下承諾:
產品標準
產品嚴格按照中國 GB、HG 標準和美國 API 等標準設計、制造、驗收。密封面硬度達到規定要求,寬度超過標準。
售前服務
產品介紹,技術交流,非標產品設計,疑難解答。
售中服務
1、守信合同,保證及時供貨,隨時保持與客戶聯系
2、對特殊或復雜的產品,我廠安排技術人員對用戶進行產品使用、故障排除、調式及維修進行培訓和指導。
售后服務
1、駱盈產品質保期為自出廠起 12 個月,實行“三包”服務(包退、包換、包修)。
2、產品在使用中我廠定期組織技術、檢查人員進行訪問,征詢用戶對產品質量、使用狀況、改進意見等方面的反饋,以便進一步提高產品質量。
3、對用戶投訴產品質量問題,快速做出反映,售后服務人員在 24-36 小時(省外 48 小時)趕赴現場。
4、對售后服務,要求用戶填寫服務后的質量反饋表,并做出鑒定意見,共同提高駱盈的產品質量與服務質量。
1、客戶采購清單請傳真至 021-64207088 E-mail:luoying@luoyingsh.com,或來電咨詢 021-62212627。
2、收到客戶采購清單,為客戶提供產品型號選型與報價(價格清單)。
3、具體商定:交貨期、特殊要求等事宜。
訂貨須知
1、客戶對產品有特殊要求,須在訂貨合同中提供以下說明:
(1)結構長度
(2)連接形式
(3)公稱直徑、全通徑、縮徑、管道尺寸
(4)用介質及溫度、壓力范圍
(5)實驗、檢驗標準及其他要求本廠可根據客戶特殊要求配置定做和設計特殊產品。
2、本廠可根據客戶特殊要求配置定做和設計特殊產品。
3、如由客戶提供確定的產品類型和型號時,客戶應正確說明其型號的含義和要求,在供需雙方理解一致的條件下簽訂合同。
您也可以聯系在線客服